- 搪玻璃設備
- 王經理:05332860177
- 不銹鋼有色金屬設備
- 傅經理:13906430854
- 襯四氟設備及配件
- 傅經理:15253328001
- 技術咨詢服務
- 王經理:18653342297
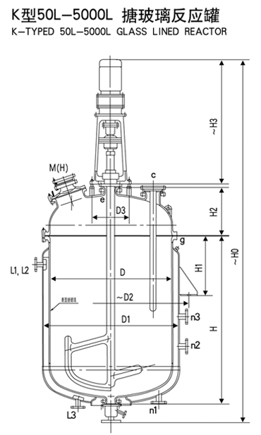
k式搪玻璃反應釜尺寸數據表
來源:搪瓷反應釜廠家??日期:2022-08-11
k式搪玻璃反應釜尺寸數據表,K式搪玻璃反應釜即為開式搪玻璃反應釜是釜蓋和釜體可以分開的一類反應容器,其具備玻璃和金屬的雙重特性,因此在石油、化工、醫藥、食品等領域都有應用,今天我們就介紹下k式搪玻璃反應釜尺寸數據表,希望對大家有幫助。
搪玻璃反應釜尺寸數據表
|
公稱體積 L |
實際 容積 L |
傳熱面積 m2 |
電動機 功率 Kw |
攪拌轉速r/min | 罐卡規格/數量 | 主要尺寸(mm) | h |
參考重量 (Kg) |
||||||||||||
| 錨(框)式 | 葉輪(漿)式 | 0.25Mpa | 0.4Mpa | 0.6Mpa | D | D1 | D2 | D3 | H | H1 | H2 | H3 | H0 | 錨(框)式 | 葉輪(漿)式 | |||||
| K50 | 70 | 0.34 | 0.75 | 63.85 | 80.125 | BM12/24 | BM12/24 | AM12/24 | 500 | 600 | 708 | 270 | 465 | 300 | 265 | 945 | 2030 | 50 | 90 | 445 |
| K100 | 127 | 0.84 | 0.75 | 63.85 | 80.125 | BM12/28 | BM12/32 | AM12/32 | 600 | 700 | 826 | 270 | 565 | 320 | 300 | 945 | 2170 | 60 | 110 | 548 |
| K200 | 247 | 1.44 | 1.1 | 63.85 | 80.125 | BM12/36 | BM12/40 | AM16/32 | 700 | 800 | 927 | 300 | 770 | 380 | 345 | 953 | 2440 | 60 | 130 | 649 |
| K300 | 369 | 1.75 | 3.0 | 63.85 | 80.125 | BM12/40 | BM12/48 | AM16/36 | 800 | 900 | 1028 | 350 | 870 | 350 | 380 | 1154 | 2770 | 80 | 150 | 968 |
| K500 | 588 | 2.64 | 3.0 | 63.85 | 80.125 | BM16/36 | BM16/40 | AM16/40 | 900 | 1000 | 1127 | 350 | 1070 | 400 | 405 | 1154 | 3030 | 85 | 160 | 1175 |
| K1000 | 1245 | 4.5 | 4.0 | 63.85 | 80.125 | BM16/52 | BM16/52 | AM16/56 | 1200 | 1300 | 1461 | 400 | 1270 | 500 | 480 | 1276 | 3360 | 110 | 210 | 1803 |
| K1500 | 1714 | 5.2 | 4.0 | 63.85 | 80.125 | BM16/56 | BM16/64 | AM20/52 | 1300 | 1450 | 1655 | 400 | 1470 | 650 | 505 | 1276 | 3326 | 100 | 210 | 2190 |
| K2000 | 2160 | 7.02 | 4.0 | 63.85 | 80.125 | BM16/56 | BM16/64 | AM20/52 | 1300 | 1450 | 1655 | 400 | 1815 | 650 | 505 | 1276 | 3671 | 100 | 210 | 2450 |
| K3000 | 3237 | 8.61 | 5.5 | 63.85 | 80.125 | BM20/60 | BM20/68 | AM20/68 | 1600 | 1750 | 1960 | 450 | 1810 | 700 | 580 | 1316 | 3791 | 130 | 240 | 3470 |
| K4000 | 4255 | 11.7 | 5.5 | 63.85 | 80.125 | BM20/60 | BM20/68 | AM20/68 | 1600 | 1750 | 1960 | 450 | 2310 | 700 | 580 | 1316 | 4291 | 130 | 240 | 4018 |
| K4000 | 4340 | 10.9 | 5.5 | 63.85 | 80.125 | BM20/68 | BM20/76 | AM20/76 | 1750 | 1900 | 2152 | 450 | 2025 | 700 | 620 | 1316 | 4046 | 130 | 270 | 4416 |
| K5000 | 5380 | 13.63 | 5.5 | 63.85 | 80.125 | BM20/60 | BM20/68 | AM20/68 | 1600 | 1750 | 1960 | 450 | 2810 | 700 | 580 | 1316 | 4791 | 130 | 270 | 4568 |
| K5000 | 5000 | 13.8 | 5.5 | 63.85 | 80.125 | BM20/68 | BM20/76 | AM20/76 | 1750 | 1900 | 2152 | 450 | 2485 | 700 | 620 | 1316 | 4508 | 130 | 270 | 5026 |
以上是關于K50L-K5000L搪玻璃反應釜尺寸數據表的內容,由于篇幅限制,K6300、K8000、K10000、K12500的尺寸我們暫時先不列出來了,大家若感興趣,可以查看“搪瓷反應釜”里面的內容。
淄博市福民化工設備有限公司是一家從事搪玻璃設備、不銹鋼設備、四氟設備近30年的廠家,我們具有豐富的生產經驗和嫻熟的生產工藝,大家若有設備需求,或者非標異型設備,都可以與我們的工作人員聯系,福民人會竭誠為您服務。
上一篇:2000L搪玻璃反應釜參數規格
下一篇:搪瓷反應釜維修時的安全事項








